伴随着生成式人工智能(Generative Artificial Intelligence)技术的高速迭代,具身AI正以前所未有的速度改变着我们的生活与工作方式。作为具身AI发展的关键一环,训练环节的优化直接关系到机器人智能水平的提升与应用场景的拓展。
其中,智能示教(Intelligent Teaching Demonstration)技术的准确性和便利性更是成为了研究热点。然而,传统穿戴式传感器示教模式虽在ALOHA、Figure等明星企业的推动下逐渐普及,但其固有的弊端也日益显现,行业呼唤着更加自然、高效的交互方式。
▍穿戴式传感器示教模式的局限:
当前,许多具身AI系统依赖于穿戴式传感器进行行为示教,这种方式虽然在一定程度上实现了人机之间的信息传递,但其局限性亦不容忽视。

穿戴设备由于设计上的限制,穿戴后的舒适性较差,不仅增加了用户的负担,容易对用户的日常生活和活动造成不便。还可能因设备限制,例如传统传感器的输入—输出特性存在非线性且随时间而漂移,同时易受环境条件变化的影响,导致测量精度和稳定性不足。这可能会影响到数据的准确性和可靠性。又例如部分传统穿戴式传感器设备在数据传输方面存在不足,如实时传输能力有限、数据传输速度慢等,最终影响示教动作的流畅性与真实性。
更重要的是,这种机械式的遥操方式操作复杂性与学习成本高,且在信息的呈现和交互表达上往往不够直观和自然,在操作过程中可能需要操作者保持高度的集中和注意力,以确保指令的准确传达和执行,面对复杂环境就缺乏足够的智能化和自适应能力。违背了人机交互的自然法则,难以达到真正意义上的“人机合一”。
▍视觉行为交互:自然交互的新纪元:
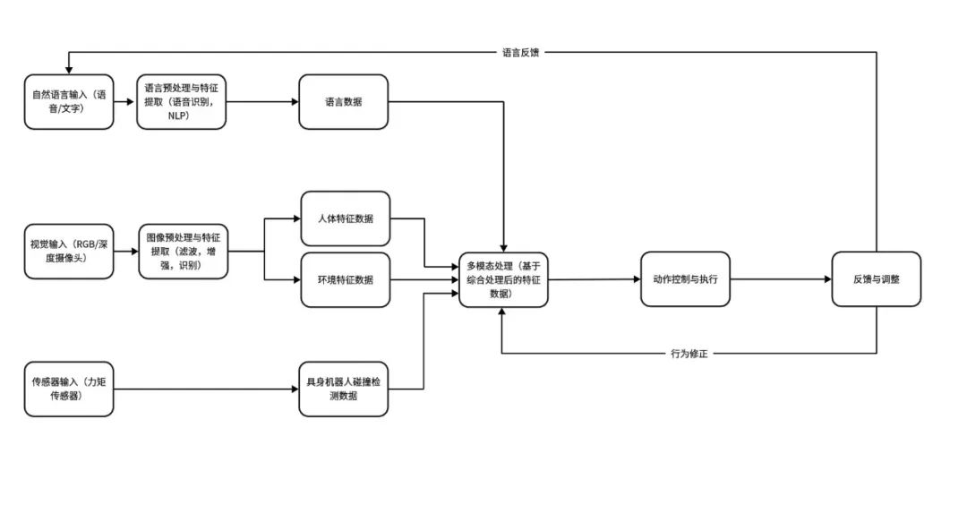
在这样的背景下,为了提高人机交互的效率和效果,业内企业不断探索和开发更加自然、智能和适应性强的人机交互技术。基于视觉语言的行为交互模型因此应运而生,它倡导通过视觉、语言、感知的直接自然互动,实现人机之间的无缝衔接,成为穿戴式传感器示教模式的一种可行替代方案。
基于视觉语言的行为交互模型能够同时处理多模态信息,允许操作者使用自然语言指令来控制机器人,能够实时感知并理解环境中的复杂信息,通过深度学习等技术,可以让机器人能够像人类一样,通过观察学习并模仿人类行为,从而在更广泛、更复杂的场景中应用。这种模式不仅更符合人类的认知习惯,也为具身AI的发展开辟了新路径。

▍睿柏智悦取得重大研究成果:
近日,我国具身机器人领域的新锐企业睿柏智悦,在视觉行为交互模型研究领域取得了重大突破,并发布了最新研究成果,该成果以“视觉行为特征规约算法”为核心,实现了从视觉采样到机器人安全运动控制的高效转换。
在睿柏智悦近期发布的展示视频中,加载了睿柏视觉行为交互模型的RAYBOT-EV3机器人,在示教人员未穿戴任何传感设备的环境中,通过实时视觉行为特征规约,丝滑的模仿人类动作,准确的实现物品的抓取和传递,可以说在直观性、自然性、智能化、高效性、精准性以及情境感知与适应性等方面表现都非常不错。
▍技术亮点解析:
1.高效率算法,低算力需求:该项技术的核心是“睿柏视觉行为特征规约算法”,该算法通过自主研发的创新技术,成功将视觉采样的人体行为数据,结合环境约束条件和机器人运动控制参数,规约为机器人可直接执行的安全运动控制数据。机器人大讲堂了解到,采取该类方案的机器人能够更好感知并理解交互情境中的各种因素,包括物理环境、接口资源和交互设备等。这种情境感知能力使得机器人能够根据不同的情境调整自己的行为方式,以适应不同的交互需求,因此它可以应用于多种不同的场景和任务中。无论是工业生产、医疗护理还是家庭服务等领域,都可以借助这种模型实现高效、智能的人机交互。
尤为值得一提的是,通过睿柏研发人员持续的算法优化,当前算法对算力的需求极低,打破了传统具身AI系统对高精度视觉设备和大算力AI硬件的依赖。据睿柏智悦相关人士透露,睿柏智悦的这一研究成果仅需国产3D相机和常规国产AI主控芯片即可实现高效运行。
2. 精准反馈,高效通讯:睿柏视觉行为交互模型的完美展现,亦离不开优秀的具身硬件载体,基于脉塔智能关节模组打造的Raybot-EV3具身载体,为视觉行为交互提供了强大的硬件支撑。Raybot-EV3采用了脉塔智能的CEM系列智能摆线关节模组,这种全摆线结构设计能够实现惊人的运动性能与稳定性。摆线设计使得模组能够承受更大的冲击载荷,数倍于传统谐波和行星模组的抗冲击性能,确保机器人在复杂多变的工作环境中稳定运行。其精准的反馈控制能力和高效的数据通讯能力,也确保了机器人能够实时、准确地响应视觉指令,实现更为流畅、自然的人机交互体验。

▍结语:
睿柏智悦的这一研究成果,不仅标志着我国在视觉行为交互模型研究领域迈出了坚实的一步,更为具身AI的未来发展指明了方向。
我们有理由相信,随着这一技术的不断成熟与应用推广,人类将迎来一个更加智能、便捷、自然的交互时代。这不仅是科技进步的胜利,更是人类智慧与创造力的结晶。
据悉,在2004.9.24-9.28于上海举办的中国国际工业博览会上,睿柏智悦将在8.1H-F126展位向公众展示搭载睿柏视觉行为交互模型的RAYBOT新款机器人,并提供精彩的现场互动体验,具身AI的FANS们千万不要错过与最新具身AI科技成果零距离接触的好机会。